奈雪的茶关联公司申请注册多枚“Naisnow奈雪”商标
投资时间网、标点财经快讯
据媒体报道,近日,有网友在社交媒体发文称看到奈雪新店使用了形似雪花的全新logo,并将“奈雪的茶”改成“奈雪”,拼音“NAIXUE”变成了“Naisnow”。查询发现,奈雪的茶在外卖平台、官微、公众号的最新物料中均采用了新名字和新logo。奈雪的茶内部人士回应称,奈雪确有在十周年启动品牌全面升级的计划,全新的logo形象正是品牌升级的其中一步。
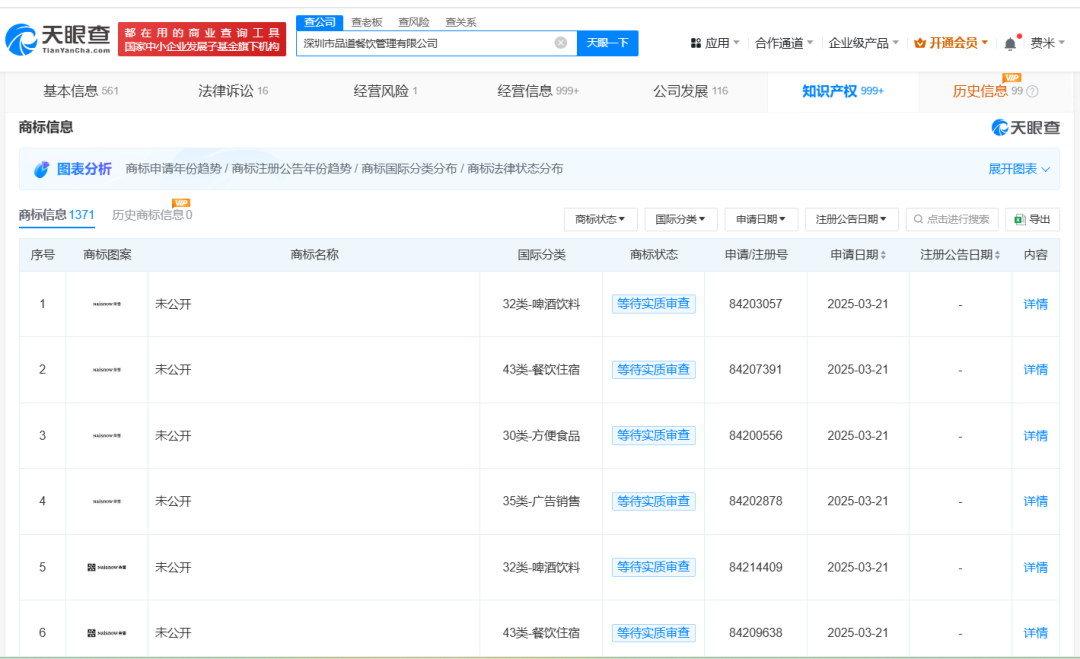
天眼查知识产权信息显示,今年3月,奈雪的茶关联公司深圳市品道餐饮管理有限公司申请注册多枚“Naisnow奈雪”商标,国际分类包括啤酒饮料、餐饮住宿、方便食品等,当前商标状态均为等待实质审查。
Wind数据显示,截至5月8日收盘,奈雪的茶股价较2月28日的高点下跌56.92%。
天眼查信息:https://www.tianyancha.com/company/2323469290/zhishi
投时关键词:奈雪的茶(2150.HK)



相关文章